Apple yeni patentler almaya devam ediyor ve bu kapsamda en son ortaya çıktığı kadarıyla Vision Pro karmak gerçeklik başlığı için bir kalem patenti alındı. Vision Pro ile kullanılabilecek bir kalemi işaret eden bu yeni patent, 19 Ocak'ta ön siparişe, 2 Şubat'ta ise ABD özelinde satışa çıkacak cihaz için ilginç bir ekleme olabilir.
APPLE VISION PRO İÇİN KALEM DESTEĞİ GETİREBİLİR
Patently Apple tarafından paylaşılan yeni bilgilerde, bu yeni kalem patentinin 'kafaya takılan bir cihaz'da olmak üzere pek çok cihazda kullanılabileceği vurgulanıyor. Burada da akla direkt Vision Pro geliyor.
Apple'ın ilk akıllı başlığı olan Vision Pro'nun özellikle toplantılara girilmesi, işlerin takip edilmesi ve film/dizi izlenmesi için geliştirildiği aktarılıyor. Burada ise cihazdan kontrol için kalemin tercih edilmesi oldukça makul görünüyor.

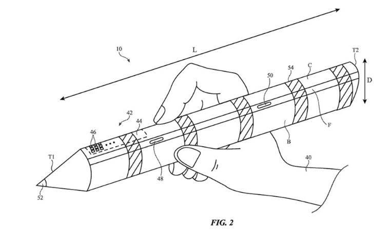
Patent görseline göre, bu çok fonksiyonlu olacak kalem, Apple Pencil'a benziyor ancak daha büyük olacak gibi duruyor.
Şu anda patent aşamasında olan bu tasarımın Vision Pro için mi kullanılacağı yoksa Apple'ın ilerleyen yıllarda farklı bir cihazda mı kullanılacağı henüz belli değil.
